Контакты
Новости
Каталоги
 Войти
Сортировать:
Сначала новые
Сначала старые
Цена ↑
Цена ↓
Кол-во ↑
Кол-во ↓
Имя A→Я
Имя Я→A
Серийник ↑
Серийник ↓
J924147 - Пробка сливн. поддона масл. ДВС Cummins TGT8/Mg.
743 ₽
J924148 - Пробка
313 ₽
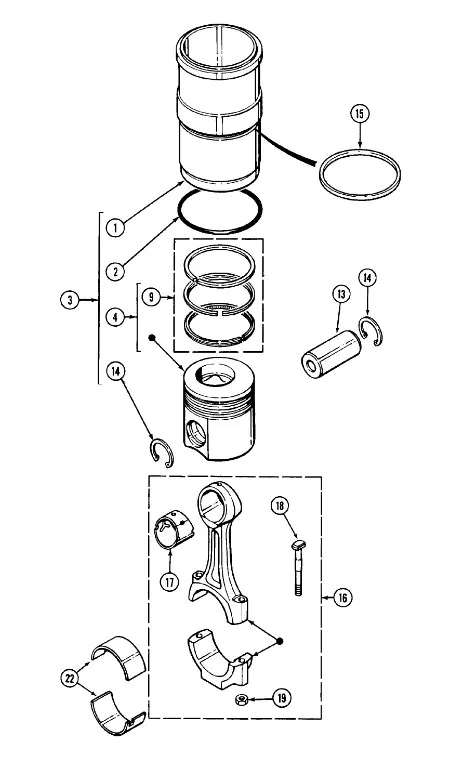
J924445 - Шайба толщ. 0,25мм гильзы ДВС Cummins TGT8/Mg.
1 577 ₽
J924446 - Шайба толщ. 0,38мм гильзы ДВС Cummins TGT8/Mg.
1 994 ₽
J924447 - Шайба толщ. 0,5мм гильзы ДВС Cummins TGT8/Mg.
2 490 ₽
J924448 - Шайба толщ. 0,76мм гильзы ДВС Cummins TGT8/Mg.
3 433 ₽
J924449 - Шайба толщ. 0,1мм гильзы ДВС Cummins TGT8/Mg.
892 ₽
J924492 - клапан
6 681 ₽
J924582 - Вкладыш
5 694 ₽
J924589 - трубка
4 201 ₽
AA39968 Колесико
17 795 ₽
AA45607 Вкладыш
27 132 ₽
УЗЕЛ ПОПЕР.
14 316 ₽
САЛЬНИК
1 126 ₽
СКОБА
4 777 ₽
AA46890 Фитинг
11 324 ₽
AA47137 Крышка
34 624 ₽
AA47936 Датчик
104 097 ₽
ШТИФТ
25 222 ₽
AA48995 Ручной гидравл. клапан
134 660 ₽
AA49571 Цепь катка
19 567 ₽
САМОУСТАНАВЛИВАЮЩ.КОЛЕСО
302 040 ₽
КОЛЛЕКТОР
63 348 ₽
ОПОРА
581 916 ₽
«
<
1
...
390
391
392
393
394
...
34117
>
»
Страница:
Перейти